技术支持 放心产品,贴心服务
首页 > 技术支持 > 产品技术支持>复杂曲线测量方案:RationalVue 如何进行轮廓度检测

复杂曲线测量方案:RationalVue 如何进行轮廓度检测

发表时间:2025-08-12 18:08:49 作者:三坐标 来源:www.serein.com.cn 浏览:686

随着产品设计趋向复杂化与功能集成化,越来越多的零部件采用了自由曲线或非标准轮廓结构——从发动机进气道的流线型边界,到消费电子外壳的R角过渡,再到医疗器械中的曲线。

微信图片_2025-08-12_102944_279.jpg

这些曲线轮廓不仅影响外观与装配,更直接关系到气动性能、密封性、耐磨性等关键功能。因此,如何准确评价其几何精度,成为质量控制中的核心挑战。


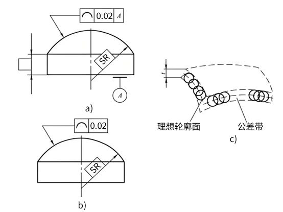
测量曲线轮廓度的核心意义在于通过量化实际轮廓与理想轮廓的偏差,确保产品几何形状满足功能需求。其中,线轮廓度的公差带是包络一系列直径为公差值 t 的圆的两包络线之间的区域。


测量难点

轮廓度的计算不是单纯的实际点和理论点的距离,而是实际点在理论点法线方向上的误差。


如果单纯的计算实际点和理论点的距离,会放大误差,使合格产品变不合格产品,增加了产品报废率。 如果和理论曲线做比较,是在理论曲线的法线方向的误差。

微信图片_2025-08-12_102956_376.jpg

检测方案


NEW STANDARD系列影像测量仪能够实现绝大部分产品的二维检测并且兼容线激光、共聚焦点白光、接触式和更换架等多种传感器实现三维检测,满足客户多种检测需求。这是一款响应市场需求的高性价比机型。


微信图片_2025-08-12_103003_856.jpg



这款影像仪的测量软件RationalVue支持ISO、ASME两种计算方式,确保测量结果在全球供应链中的通用性与权威性。


相比传统方法(如公式计算),RationalVue 测量曲线轮廓度的方法操作更简便、结果更可靠。客户可根据被测件的材质特性、表面粗糙度及精度要求,

灵活选择影像、激光或接触式测量模式,实现真正的“一机多用、按需配置”。


测量流程


当产品数模上缺乏可用于建立坐标系的基准元素时,RationalVue 凭借其独特的实现方式和强大的算法,仍能实现实际测量曲线与理论曲线的精准比对。


测量完成后,所得曲线数据可直接输出至 FormError 图形误差分析窗口,便于客户进行后续的数据分析与评估。



1) 导入 CAD;

微信图片_2025-08-12_103011_241.jpg

2) 用“选取连接曲线”的工具,在数模上点击,会生成一条理论曲线;

微信图片_2025-08-12_103018_672.jpg


3) 将理论曲线拖放到“元素编辑窗口”中;

微信图片_2025-08-12_103038_808.jpg




4)用曲线工具,在要测量的实际边界处给定起始点、 方向点以及终止点,软件会自动完成寻边测量;

微信图片_2025-08-12_103044_528.jpg

微信图片_2025-08-12_103142_600.jpg





5)测量完成后,曲线右键点击“拟合”,理论曲线会自动对齐到实际曲线上;


微信图片_2025-08-12_103154_727.jpg

拟合前


微信图片_2025-08-12_103220_096.jpg

拟合后



5) 尺寸评价;

微信图片_2025-08-12_103223_968.jpg



6) 将曲线拖放到 FormError 窗口,快速查看 Form 误差;

微信图片_2025-08-12_103227_879.jpg



7) 报告输出。

微信图片_2025-08-12_103231_888.jpg



思瑞测量NEW STANDARD系列影像测量仪搭配RationalVue软件,结合了影像、激光或接触式传感器,实现对曲线轮廓度的精准测量。通过智能拟合算法,

软件可在无基准情况下完成理论与实际轮廓的可靠比对,有效避免误判,提升检测效率与结果的准确性。


上一个: 应用技巧 | 三坐标测量软件PC DMIS图形报告标签处理
下一个: 三坐标PC-DMIS软件中对称度公差的评定方法解析
返回列表
最新文章: 三坐标新能源电池托盘尺寸检测
最新文章: 以技砺能,匠心如一——2025年第八届“思瑞杯”技能比武大赛圆满收官
推荐文章: 以技砺能,匠心如一——2025年第八届“思瑞杯”技能比武大赛圆满收官
推荐文章: 影像测量仪电池极片毛刺测量方案(新能源行业)
相关产品